پورشه می‌خواهد موتور دیوانه‌واری با ۳ ردیف سیلندر بسازد
کد خبر : ۸۱۳۶۰۶
|
تاریخ : ۱۴۰۴/۰۷/۲۸
-
زمان : ۰۹:۰۳
|
دسته بندی: فناوری

پورشه می‌خواهد موتور دیوانه‌واری با ۳ ردیف سیلندر بسازد

درحالی که موتور W12 به تاریخ می‌پیوندد، پتنت جدید پورشه از تولد پیشرانه‌ای پیچیده‌تر با سه ردیف سیلندر و قدرتی فراتر از انتظار خبر می‌دهد.

پورشه می‌خواهد موتور دیوانه‌واری با ۳ ردیف سیلندر بسازد

خودروپورشه
دوشنبه 28 مهر 1404 - 09:15
مطالعه 2 دقیقه
مجتبی بوالحسنی
موتور پورشه
درحالی که موتور W12 به تاریخ می‌پیوندد، پتنت جدید پورشه از تولد پیشرانه‌ای پیچیده‌تر با سه ردیف سیلندر و قدرتی فراتر از انتظار خبر می‌دهد.
تبلیغات

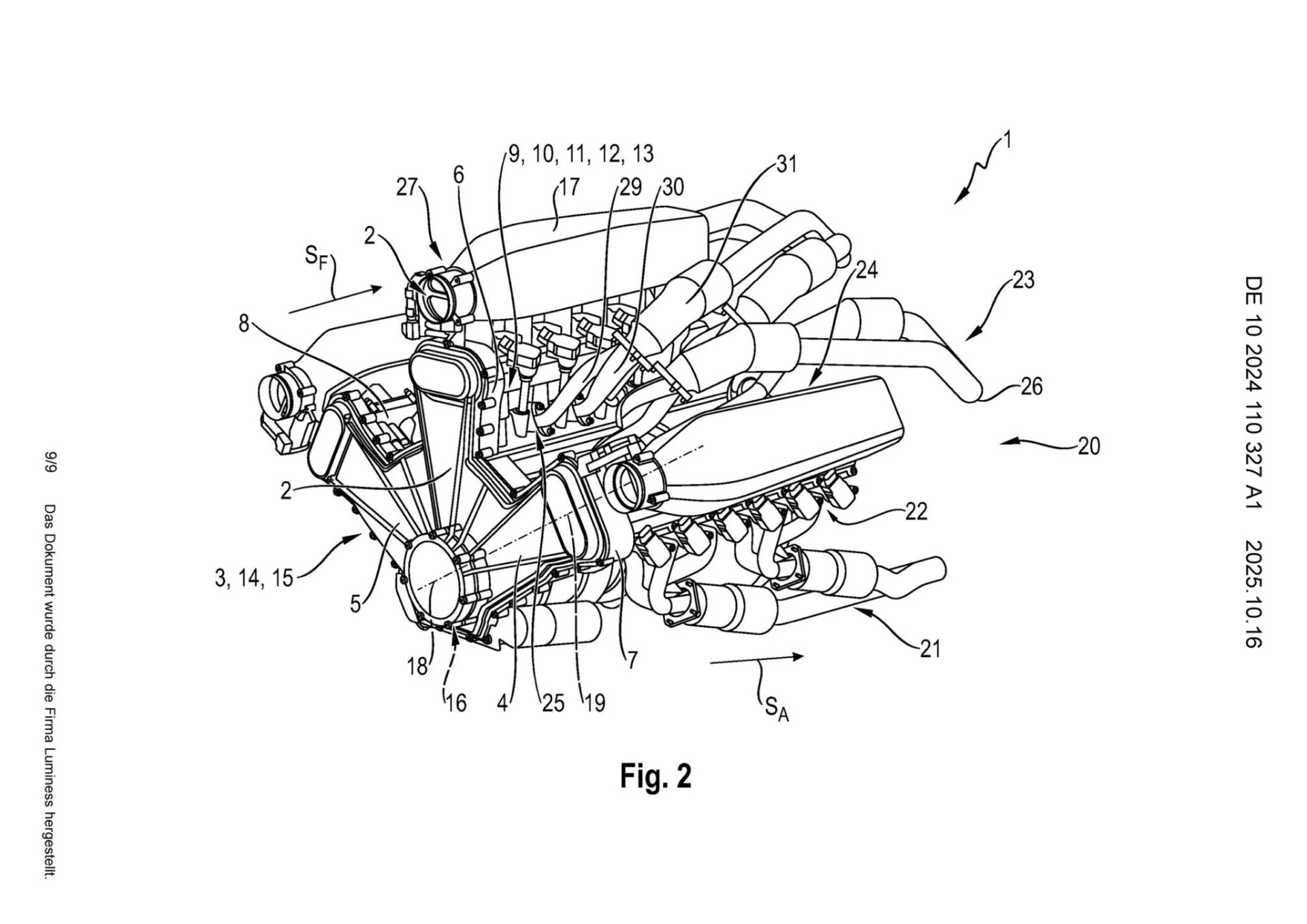
بنتلی در سال ۲۰۲۴ با موتور نمادین W12 خود خداحافظی کرد، اما ظاهراً گروه فولکس‌واگن هنوز قصد ندارد این نوع موتور را کنار بگذارد. پورشه پتنتی منتشر کرد که از توسعه‌ی پیشرانه‌ی جدید با سه ردیف سیلندر خبر می‌دهد؛ طرحی که از نظر مهندسی حتی از W12های گذشته هم پیچیده‌تر هست.

در پتنت پورشه توضیح داده شده هست که سیلندرها به شکل W واقعی و نه ترکیب دو موتور V در کنار هم چیده شده‌اند. هر سرسیلندر ورودی و خروجی جداگانه دارد و مسیر جریان هوا به‌گونه‌ای طراحی شده هست تا بدون انحنا و با حداقل اصطکاک وارد سیلندر شود؛ عاملی که به افزایش راندمان و کاهش دمای هوا کمک انجام می‌دهد.

به‌نوشته‌ی Carscoops، پورشه در طراحی جدید خود مجرای اصلی هوا را در بالای موتور قرار داده هست تا هوای خنک‌تر مستقیماً وارد سیلندرها شود. این ساختار علاوه‌بر تفکیک کامل سیستم ورودی و خروجی، امکان استفاده از مسیرهای کوتاه‌تر برای مکش هوا را نیز فراهم انجام می‌دهد که عملکرد پیشرانه را بهبود می‌دهد.

بر اساس اطلاعات منتشرشده، موتور جدید شاید توان پشتیبانی از سه توربوشارژر یا سوپرشارژر را دارد؛ قابلیتی که اگر اجرایی شود، گامی بزرگ‌تر از موتور ۶ لیتری W12 بنتلی با توان ۷۴۰ اسب بخار خواهد قرار دارای بود. چنین ظرفیتی نشان می‌دهد پورشه در تلاش هست مرزهای قدرت و بازده را فراتر ببرد.

مقاله‌های مرتبط:
  • این کابین پورشه کاین برقی هست؛ لوکس و چشم‌نواز با انبوهی از نمایشگر
  • قدرتمندترین پورشه ۹۱۱ تاریخ رونمایی گردید؛ چشم‌نواز، لوکس و گران‌قیمت

هرچندین هنوز مشخص نیست طراحی موتور سه سیلندر به مرحله‌ی تولید یا استفاده در خودروهای مسابقه‌ای برسد، اما انتشار این پتنت نشان می‌دهد پورشه و گروه فولکس‌واگن همچنان به نوآوری در موتورهای درون‌سوز باور دارند. شاید این طرح سرانجام در قلب نسل بعدی بوگاتی یا یک ابرخودروی جدید پورشه بتپد.

تبلیغات
داغ‌ترین مطالب روز

نظرات

$!/$
مشاهده تمامی لیست‌های مطالعاتی
پخش از رسانه
$/$
تبلیغات


اشتراک گذاری

دیدگاه‌ها


ارسال دیدگاه